最近,因为偶然被拍下纯真笑容而走红的藏族小伙丁真,受到了许多人的关注,还成了自己家乡四川省理塘县的旅游形象大使。
更有趣的是,丁真走红后,各省的文旅官博纷纷下场,发起了“抢人大战”,在玩梗玩得甚是欢乐的同时,商标也没有闲着。
11月以来,“丁真”商标已被多家公司抢注,包括惠州市一点百众文化传媒有限公司、北京文登教育科技有限公司、芜湖若森企业服务有限公司等,类别涉及日化用品、教育娱乐、网站服务等。
对此,理塘县国有资产经营投资管理集团有限责任公司高管张玺表示:“有些‘丁真’的商标在2018年就注册了,他(公司)注册他的商标没有问题。我们下一步会把丁真的头像等肖像权一一注册,这个事我们已经在做了。”
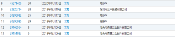
经查询,2018年2月6日至2020年4月13日,已经有6件“丁真”商标被申请,大部分都已申请成功。
丁真的全名叫扎西丁真,这位出生于2000年的藏族小伙,生活在康巴藏区,因其原生态的野性美和清澈纯真的眼神,让丁真爆红网络。
先是马保国,自称“浑元形意太极门掌门”的马保国30秒被人3次KO一事一度引发网络热议。接着,马保国的一段视频流出,年轻人,我劝你“耗子尾汁”,被众多网友们调侃。
随之而来的是“耗子尾汁”被抢注商标和公司;跟“马保国”相关的热词诸如“五连鞭”、“浑元”、“形意”、“接化发”、“不讲武德”一个也没有放过,甚至还有人要出价15万购买相关商标。
而丁真,似乎与马保国有着相同的爆火体质,一个70岁,一个20岁;一个山东人,一个四川人;一个习武,一个放牛。这两个八竿子打不到一起的人,意外成为了如今全网最红的两个男人,也因为火,从网络圈扩散到了商标圈,成为了很多人争相抢注的对象!
商标法第三十二条:
申请商标注册不得损害他人现有的在先权利,也不得以不正当手段抢先注册他人已经使用并有一定影响的商标。
在此之前注册“丁真”商标无可厚非,只是碰巧“丁真”火了,这些公司捡了个大便宜!但是在丁真爆火以后抢注其姓名商标,就没有那么简单了!最终能否成功注册,还要看丁真及其签约公司怎么处理了。
商标被抢注怎么办?
应对抢注商标的三种方法:
1、对未获准注册的商标可以提起异议
根据我国《商标法》,注册商标应当先由商标局进行初步审查,通过审查的,进入公告期,公告期时间为三个月。
一定要时刻关注该商标的状态,以便在其被公告时第一时间提出异议,同时着重开始准备证据材料。至于准备哪些方面的证据,将在后文予以介绍。
创业者可以在这三个月的时间里,通过专门的商标代理机构向国家商标局提起商标异议。被抢注方的法律依据是《商标法》第三十一条 的规定,申请商标注册不得损害他人现有的在先权利,也不得以不正当手段抢先注册他人已经使用并有一定影响的商标。
2、已经获得注册的商标可以提起撤销程序
如果抢注的商标已经过了公告期,获得注册了,此时创业者可以根据商标法第四十一条的规定,向国家知识产权局商标评审委员会提起商标无效宣告申请。商标法对无效宣告申请有五年的限制规定,即如果商标获得注册时间超过5年的,就不可以以被抢注为由进行撤销。另外对于商评委的裁决,如果任何一方不服的,还可以向北京市第一中级人民法院提起行政诉讼。
3、全面完善的申请商标保护品牌
创业公司应当在创业之初就把主要的产品和服务申请商标。很多时候,创业者因为资金紧张,没有申请商标,这对公司的发展是重大隐患,现在互联网竞争异常激烈,如果被竞争对手抢注了商标,然后持续投诉,对公司发展的打击会非常巨大。另一种是申请不足,即虽然申请了核心类别,但关联防御类别没有申请,比如教育行业,只申请了第41类的教育类,但没有申请第9类,第16类等关联防御类别,此时被人抢注相关类别被竞争对手打擦边球,大大稀释了品牌辨识度。
