两会之后改善民生的“地摊经济”多次登上热搜,在当下全民摆摊的热潮中,五菱神车又一次的走在了潮流的最前端! 继“秋名山神车,五菱口罩”之后,本着“人民需要什么,五菱就造什么!(此名称也申请了商标)”服务理念,五菱汽车又一款神车面世“摆摊神车”!
在6月2日,五菱汽车宣布推出一款专用售货车,助力“地摊经济”。据“五菱专用车”公众号介绍,荣光翼开启售货车车厢全开启,多角度多方位多视角展示货品,具有商业活动功能,机动性强,占地面积小,宣传、配送、售卖、促销方式等多样灵活。同时五菱公司不仅申请了专利,相应的广告语也申请了商标注册。
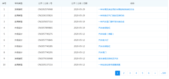
五菱汽车2020年已发布226项专利申请,虽然助力“地摊经济”的摆摊神车相关专利还未披露出来(限于审查时间等因素),但是根据以往五菱汽车专利布局来看,势必要申请保护,确权只是时间问题。
除了专利的申请,五菱汽车的商标品牌也进行了广泛的布局申请,就连“人民需要什么,五菱就造什么”这么豪横的广告语也提起了商标注册。
俗话说,天下武功唯快不破!
在市场经济中,企业要想占得先机,除了自身过硬的产品和服务外,知识产权的保护也必不可少,只有超前的、完善的商标、专利等知识产权布局,才能保持企业核心技术和品牌高度唯一性,企业发展必须重视知识产权,不管是商标、版权、还是专利。
对于有产品的企业建议通过申请注册商标或者购买商标加快产品上市。有核心技术的布局专利申请,如公司的包装袋、礼品盒可以申报外观设计专利;公司的配方、技术解决方案等可以申报发明专利或者实用新型专利。公司的商标logo、文字性方案、音视频作品、图片可以申请版权等。公司开发的程序可以申报软件著作权。当然最好是通过专业机构来帮助公司申报有关知识产权。
