近年来,商标抢注无处不在,自从B站“敬汉卿”商标被抢注之后,众多的自媒体人都开始重视商标,纷纷将相关名称注册为商标。没想到这次,汽车行业被有心人盯上了。

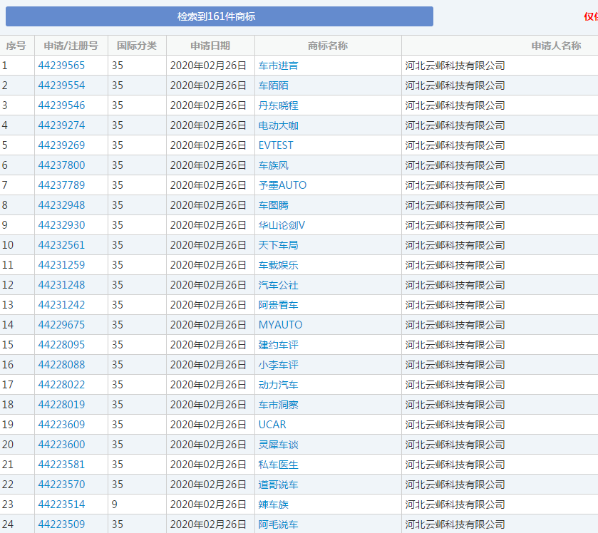
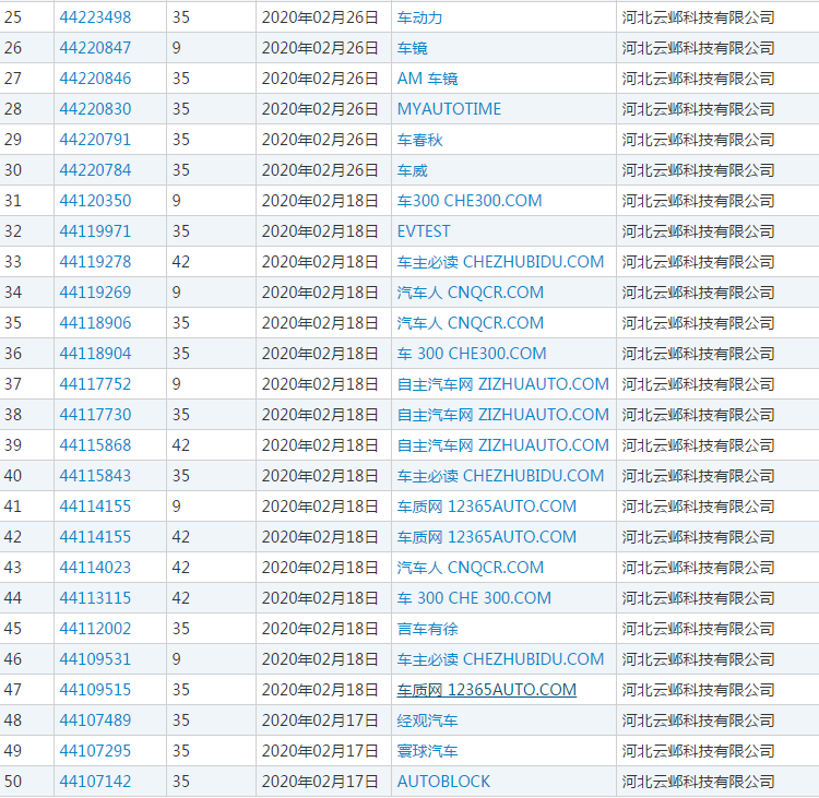
日前,网络上爆出160个汽车自媒体商标被抢注的消息。据了解,这些汽车自媒体商标的申请人为创立于2019年11月8日的河北某科技公司。
据天眼查数据显示,河北云邺科技有限公司于2019年11月成立,该公司注册地在河北邯郸临漳县。经营范围包括:计算机软硬件技术开发、技术咨询、技术服务、技术转让;计算机系统集成;广告设计、制作、代理、发布;商标代理;知识产权代理等。
自今年1月14日起至2月26日,河北云邺科技有限公司先后申请了包括灵犀车谈、品汇汽车、阿毛说车、车威、汽车有文化等多个热门汽车自媒体账号名称在内共160件商标。
这批商标的主要注册类别为第9类、第35类、第42类,目前正处于“此商标正等待受理,暂无法查询详细信息”状态。
一家注册不到半年的公司一口气提交这么多件商标,而且还是别人家的名字,该行为引起哗然,网友们纷纷讨伐。
随后,河北云邺科技公司回应称:“系操作失误,因为有很多朋友需要注册商标,所以公司申请了商标代理业务。原本是想查询哪位老师还未注册商标,加以提醒。结果员工理解和操作错误,将各位的商标进行了注册。”
该公司还称:“所有商标均未正式提交和付费,并撤销商标申请。此次商标申请不会对汽车媒体造成任何影响。商标撤销证明会在明天上午统一发放。”
虽然河北云邺科技公司就注册商标一事进行了回应,但网友们并不买账。众多网友怀疑,该公司注册这些商标的行为貌似蓄谋已久,其目的可能是为了以对方侵权商标为由向汽车类自媒体们进行索赔或是出售。有意思的是,该公司在今年3月才新增了“商标代理、知识产权代理”业务。
前有敬汉卿、后有papi酱商标被抢注。明明有前车之鉴,为什么仍旧有那么多自媒体没有注册商标呢?说白了,这些自媒体还是存在侥幸心理,没有知识产权保护意识!
那么如果不幸遭遇商标被恶意抢注,自媒体人该如何应对呢?
1、对在初审公告期内的商标,提出异议。
2、对已经获得注册的商标,申请无效宣告。
最后提醒各位自媒体从业人员,在创业初期做好知识产权方面的保护,千万不要让辛苦多年的心血付诸东流。